自動更新

並べ替え:新着順

ベストポスト
メニューを開く

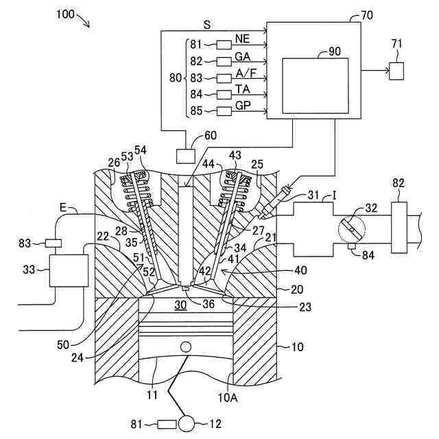
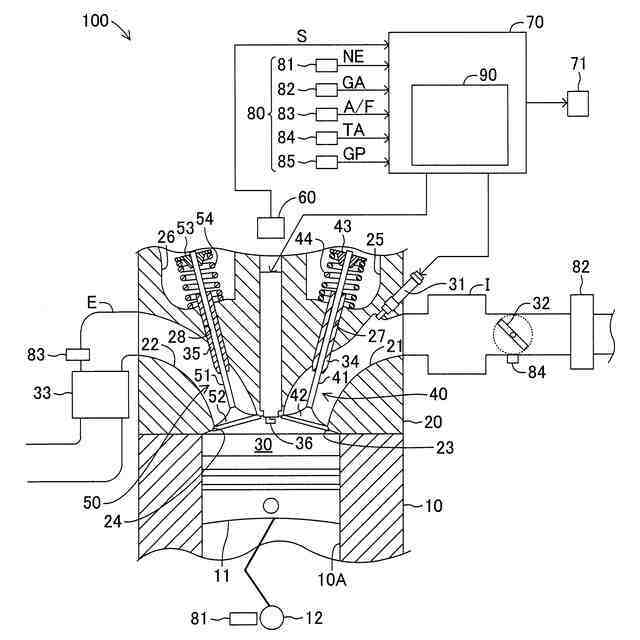
出願日:2024-05-09 出願人:トヨタ自動車株式会社 名称:車両の制御装置 要約:【課題】部品の寿命を判定し、部品のメンテナンスを促すことが可能な車両の制御装置を提供すること。 【解決手段】車両の制御装置70は、内燃機関100を構成する部品の寿命を判定し、判定.. 続き chizai-watch.com/p/2025171200 pic.x.com/wl5olz8SlU

特許ウォッチbot@ptent365a

メニューを開く

📢イベント登壇のお知らせ📢 代表越智が、ライフデザインについて、トヨタ自動車株式会社等のパネラーを交えてディスカッションを行います。 キャリア自律やライフデザイン経営にご関心がある方ぜひご参加ください! 日時:2025/12/18(木) 13:30 〜 15:30 詳細: e-ve.event-form.jp/event/118618/l… pic.x.com/KuHZoT9kkV

manma|家族留学@official_manma

メニューを開く

返信先:@SS128987はぁー・・・ 提供元: トヨタ自動車株式会社 公式企業サイト share.google/whrBXmbzOw7wae…

メニューを開く

もうすぐ凍結かと思うとヒリヒリワクワク。 凍結したらトヨタに生まれ変わるか? 夢はでっかく。 トヨタウェイ2020/トヨタ行動指針 | 経営理念 | 企業情報 | トヨタ自動車株式会社 公式企業サイト share.google/mPLB4bfZzDuUVN…

スバル 東京女風物語本店 全国出張可@Subaru_jyohu

メニューを開く

トヨタ自動車株式会社】 他部署との連携でAI導入を推進。全社規模のデジタル変革に挑むAI・クラウド技術者... talent-book.jp/toyota/stories… pic.x.com/sCe1r06Uqe

talentbook@talentbook_jp

メニューを開く

11月24日(月)にフラップ大郷21でトヨタ自動車東日本株式会社のハンドボール部「Regarosso(レガロッソ)宮城」の試合が行われるモロ 宮城県民の皆さんはどなたでも観戦に御招待いただけるモロ みんなでレガロッソ宮城の応援に行こうモロ~ ボクも当日会場にお邪魔するモロ‼️ pic.x.com/OH7rqub0wR

常のモロ(大郷町観光PRキャラクター)@PR99506320

メニューを開く

千葉県袖ヶ浦カンツリークラブにて、株式会社ジェイコム千葉様主催「J:COMゴルフフェスタ」を開催!弊社は特別協賛にて参加しております。 J:COMゴルフフェスタでは 協賛費用の一部がゴルフの 若手支援育成に当てられます。 コーススタート地点には実証実験中のトヨタ自動車製モバイルトイレを展示中🚽 pic.x.com/cI9olzksHA

日野屋株式会社【公式】@Hinoya_official

メニューを開く

AI による概要: 谷中 壯弘氏(やなか あきひろ) トヨタ自動車で「i-ROAD」などの パーソナルモビリティを開発した 元エンジニア。 2022年に小型モビリティの 「Lean Mobility株式会社」を設立し 代表取締役社長を務めている。 都市型小型EVの開発に注力。 pic.x.com/roU11lhHSQ

くまムーンGO@kumamoon_55

メニューを開く

"デジタルはどこまでいっても手段であり方法論。我々はデジタルという道具を活用し、仕事の進め方や商品価値をどう変えるか?が軸となります。(日比氏)" OutSystemsを採用したトヨタ自動車株式会社株式会社トヨタシステムズ 様の事例 ctc-g.co.jp/report/case-st…

よぴぴ | SUNABACO高松スタッフ@yopipithetori

メニューを開く

④上田大臣政務官と。 #名古屋商工会議所 田中常務理事・事務局長、 #中部経済連合会 根本常務理事、 #名古屋港管理組合 横地専任副管理者、 #中部国際空港 株式会社の櫻井代表取締役副社長、 #トヨタ自動車 株式会社の大野総務部長とともに。 pic.x.com/YKYq7We8bs

大村ひであき【活動報告】@ohmura_jimusho_

メニューを開く

トヨタ自動車株式会社】 交通事故死傷者ゼロをめざして。ドライブレコーダーで命を救う新規事業の裏側... talent-book.jp/toyota/stories… pic.x.com/dvGUQY1bxq

talentbook@talentbook_jp

メニューを開く

國學院大學 人間開発学部・備前ゼミ(専門:スポーツマネジメント)と富士通株式会社との授業連携によるイベントを下記の試合で開催します。 🏀女子バスケットボール🏀 大樹生命Wリーグ2025-26 富士通 VS トヨタ自動車 🗓️ 日時:11月22日(土)14:00〜 📍 会場:横浜武道館 pic.x.com/MKMlSg7mrp

日本の大学@ksdaigaku

メニューを開く

出願日:2024-05-07 出願人:トヨタ自動車株式会社 名称:オイルタンク 要約:【課題】オイルタンク内でのオイルの落下音を抑制することが可能なオイルタンクを提供する。 【解決手段】高温油に対する耐性を有する網状の材料を筒型に形成して成る筒型ロープ3をオイル.. 続き chizai-watch.com/p/2025170684 pic.x.com/IMHE8Zofyf

特許ウォッチbot@ptent365a

メニューを開く

出願日:2024-05-07 出願人:トヨタ自動車株式会社 名称:巻線界磁型モータ 要約:【課題】ロータの機能とは関係のない部品を最小とする構造を有することができる巻線界磁型モータを提供すること。 【解決手段】界磁巻線のコイルエンド部が樹脂により固定された構造.. 続き chizai-watch.com/p/2025170641 pic.x.com/Oox5EdIrDd

特許ウォッチbot@ptent365a

メニューを開く

トヨタ自動車株式会社】 海外で得たグローバル企業としての責任感。仕入先さまと共存共栄で自動車産業を支える... talent-book.jp/toyota/stories… pic.x.com/60h9FCAfnk

talentbook@talentbook_jp

メニューを開く

Day 2 2本目の Keynote セッション 「病院向け搬送ロボット「Potaro」の多台数統括システムにおけるクラウド活用」 by トヨタ自動車株式会社 Osamu Taniai さん #CNDW2025 pic.x.com/WhOODQVPqN

MasayaAoyama(青山真也) ⎈KubeCon Japan Co-Chair 6/16-17@amsy810

メニューを開く

【実施レポート】 群馬トヨタ×ザスパ群馬 サッカー教室⚽ 11月15日にGCCザスパークにて、オフィシャルパートナーの群馬トヨタ自動車株式会社様とサッカー教室を実施! pic.x.com/E6pd2lJO9V

ザスパ群馬/THESPA GUNMA@OfficialThespa

メニューを開く

返信先:@YahooNewsTopics円安で わたくし達、 トヨタ自動車株式会社🇯🇵は、また 多くの お金を 入手   それも、よく 知れ渡っていてもらえば いいです

おお⭕※賢二(トヨ自🇯🇵 👊 )@NNZsyFNCjW98357

メニューを開く

トヨタ自動車株式会社 代表取締役社長:豊田章男 トヨタはあらゆる事業活動を通じて、豊かな社会づくりに貢献し、すべてのステークホルダーから信頼される良き企業市民を目指しています。 #トヨタ自動車株式会社 #豊田章男

【会長・社長】みんなのまとめ@ceo_P_resident

メニューを開く

投資初心者にとって、これは「貯蓄を推奨する」レベルです。必ず最後まで読んでください。 以下は明日の市場に影響を与える可能性のある日本株です: トヨタ自動車(7203)→ 約2,970円 三菱UFJ(8306)→ 約2,300円 川崎汽船株式会社(9107)→ 約2,170円 三井物産(8031)→ 約3,500円

Noorandappa Lamani@NoorandappaL

メニューを開く

トヨタ自動車株式会社】 最後までやり切る覚悟で築いたキャリア。すべてを糧に、新たな車載システムを市場へ... talent-book.jp/toyota/stories… pic.x.com/nkM2fctMAt

talentbook@talentbook_jp

メニューを開く

当館を表敬訪問されたトヨタ自動車株式会社事業販売の南部裕氏と、両国間の貿易・投資機会について意見交換を行いました。

Türkiye in Japan@TC_TokyoBE

メニューを開く

TOYOTA、「Tj CRUISER」を初公開 | トヨタ自動車株式会社 公式企業サイト これめっちゃ欲しい global.toyota/jp/detail/1900…

ポコひろと@pocohiroto

メニューを開く

トヨタ自動車 株式会社 代表取締役会長:内山田竹志 トヨタはあらゆる事業活動を通じて、豊かな社会づくりに貢献し、すべてのステークホルダーから信頼される良き企業市民を目指しています。 #トヨタ自動車株式会社 #内山田竹志

【会長・社長】みんなのまとめ@ceo_P_resident

メニューを開く

HEVモータを再利用した マイクロ水力発電システムの実証 (トヨタ自動車株式会社

くまムーンGO@kumamoon_55

メニューを開く

自動車産業ニュース(2025/11/17):EV失速は本当か? トヨタ自動車「1.5兆円」とニデック株式会社「870億円損失」が示すEV市場の現実解 note.com/automotive_wor…

メニューを開く

水素(FCEV、水素エンジン) | BEYOND ZERO | モビリティ | トヨタ自動車株式会社 公式企業サイト global.toyota/jp/mobility/be…

メニューを開く

#バス好きと繋がりたい #九州産交バス 新川橋交差点(福岡トヨタ自動車株式会社本社前)で撮影。 pic.x.com/ICQ0XQLAw6

早苗のアーカイブ@kamome08211280

メニューを開く

返信先:@dotageluvどんな「思想」なんだろ… グループ会社を「ファミリー」と呼称するのは割と一般的ですけどね。 そもそも「トヨタアルバルク東京株式会社」は「トヨタ自動車株式会社」が90%出資しているグループ会社ですよ。

りんご@ringo_366

メニューを開く

NASCARのショーランをスーパー耐久の観客に見せるのが主目的ではなく、トヨタ自動車株式会社の会長がフォードのピックアップトラックを運転して見せ、トランプ大統領のグッズに身を包む写真や動画を撮るのが主目的だったのかもしれない #スーパー耐久 #S耐 #SuperTaikyu as-web.jp/domestic/12704…

スーパートムキャット@stomcat_MSC_fan

メニューを開く

決算短信を、GPTsの『決算分析GPT』で読み込み、『#まじん式v4』で仕上げるとこのとおり!一発でスライド化! slideshare.net/slideshow/2026… トヨタ自動車株式会社 2026年3月期 第2四半期決算概要 global.toyota/pages/global_t… pic.x.com/sJmktjpLjE

Paul神田敏晶 Paul Toshi kanda@knnkanda

メニューを開く

#おはようトレイン おはようございます。 今日は博多(ヨドバシカメラ4階のダイソー)と天神(ミーナ天神6階のSeria)で買い物する序でに、中央区渡辺通4-8-28(福岡トヨタ自動車株式会社)側の新川橋交差点で、高速バスの撮影をしに行きます。 pic.x.com/eVtzXS9oX1

西海の鉄道現人神・東風谷早苗@0821ZUNDA

メニューを開く

トヨタ自動車 株式会社 代表取締役会長:内山田竹志 トヨタはあらゆる事業活動を通じて、豊かな社会づくりに貢献し、すべてのステークホルダーから信頼される良き企業市民を目指しています。 #トヨタ自動車株式会社 #内山田竹志

【会長・社長】みんなのまとめ@ceo_P_resident

メニューを開く

\第3回 #技能五輪アジア大会 選手紹介⑤/ #電子機器組立て 職種に水津勇身選手(トヨタ自動車株式会社)が出場します! 水津選手は技能五輪全国大会の電子機器組立て職種で2024年に銀賞を獲得!応援よろしくお願いします📣🔥 #WorldSkillsJapan #WorldSkills #WorldSkillsAsia x.com/WorldskillsJ/s…

WorldSkills Japan@WorldskillsJ

第3回技能五輪アジア大会 電子機器組立て 職種 水津 勇身 選手 / トヨタ自動車株式会社

【公式】あいち技能五輪・アビリンピック@aichigorinabipr

メニューを開く

トヨタ自動車株式会社🇯🇵 より、 堂々と やってください   、 此の地 は、  ずっと、 連邦🇺🇸圏であり 、 当然だから そうなされませ

おお⭕※賢二(トヨ自🇯🇵 👊 )@NNZsyFNCjW98357

メニューを開く

出願日:2024-05-01 出願人:トヨタ自動車株式会社 ほか2 名称:ダイヤモンド複合金属薄膜及びダイヤモンド複合金属薄膜の製造方法 要約:【課題】本開示は、熱伝導率の高いダイヤモンド複合金属薄膜及びダイヤモンド複合金属薄膜の製造方法を提供することを目的とす.. 続き chizai-watch.com/p/2025169497 pic.x.com/eFLyL5P4xE

特許ウォッチbot@ptent365a

メニューを開く

トヨタ自動車株式会社 (3116.T) の株が2361.0、0.25%の急騰!🔥 投資機会到来! $3116.T

メニューを開く

返信先:@nhk_news躊躇なく 解任した   それだけだ、   トヨタ自動車株式会社🇯🇵 より

おお⭕※賢二(トヨ自🇯🇵 👊 )@NNZsyFNCjW98357

メニューを開く

返信先:@NissanJP引き続き  万一 、 まさに  ナニシデカスカわからへん  ッ rec. や 警察🇯🇵 はたまた、  、   、 JSDF にも あのさあ  例の、 とよだあきお てのは、 トヨタ自動車株式会社🇯🇵より  解任   まさに、 すばらしい  一撃をくらった のだそうだよ やら、 で いい

おお⭕※賢二(トヨ自🇯🇵 👊 )@NNZsyFNCjW98357

トレンド22:03更新

  1. 1

    ニュース

    不破湊

    • 3Dライブ
    • ローレン・イロアス
    • にじさんじ
    • 赤城ウェン
  2. 2

    アニメ・ゲーム

    増田俊樹

    • 逢坂良太
    • 最後の涙
    • 小野友樹
  3. 3

    エンタメ

    藤森慎吾

    • サイズの晩餐
    • 横山裕
    • 芦田愛菜さん
    • KEY TO LIT
    • SUPER EIGHT
    • 猪狩蒼弥
    • 芦田愛菜
  4. 4

    エンタメ

    青葉つむぎ

    • 逢坂良太
    • Switch
    • 誠にありがとうございました
    • つむぎ
  5. 5

    ロイヤルファミリー

    • タイトル回収
    • ファミリー
    • ロイヤル
  6. 6

    動物

    スーパーボーイ

    • 同級生B
    • 北斗くん
    • 一生飲める瓶
    • ほっくん
    • カートに入らない
    • ほくと
    • シロナガスクジラ
    • 声低い
  7. 7

    Eden

    • Adam
    • Eve
    • チャリで来た
  8. 8

    久しぶりの6人

    • 公式生放送
    • 4か月
    • ワクワクする
    • 生放送中
  9. 9

    エンタメ

    おていさん

    • 業と情
    • 定信
    • 写楽
    • 麒麟がくる
    • ていさん
    • 歌麿
    • 身を引く
    • 腐女子
    • おてい
    • 最高の男
    • BL本
    • 巻き込まれる
  10. 10

    アニメ・ゲーム

    アメリカナマズ

    • 間宮さん
    • グリル厄介
    • DASH
    • 爆食プレデター
    • TVer
20位まで見る

人気ポスト

電車遅延(在来線、私鉄、地下鉄)

遅延している路線はありません

全国の運行情報(Yahoo!路線情報)
よく使う路線を登録すると遅延情報をお知らせ Yahoo!リアルタイム検索アプリ
Yahoo!リアルタイム検索アプリ